반응형
애플은 두 대의 모니터를 동시에 지원할 수 있는 듀얼 헤드 Pro Stand 특허를 취득했습니다. 두 대의 모니터를 연결할 수 있습니다.
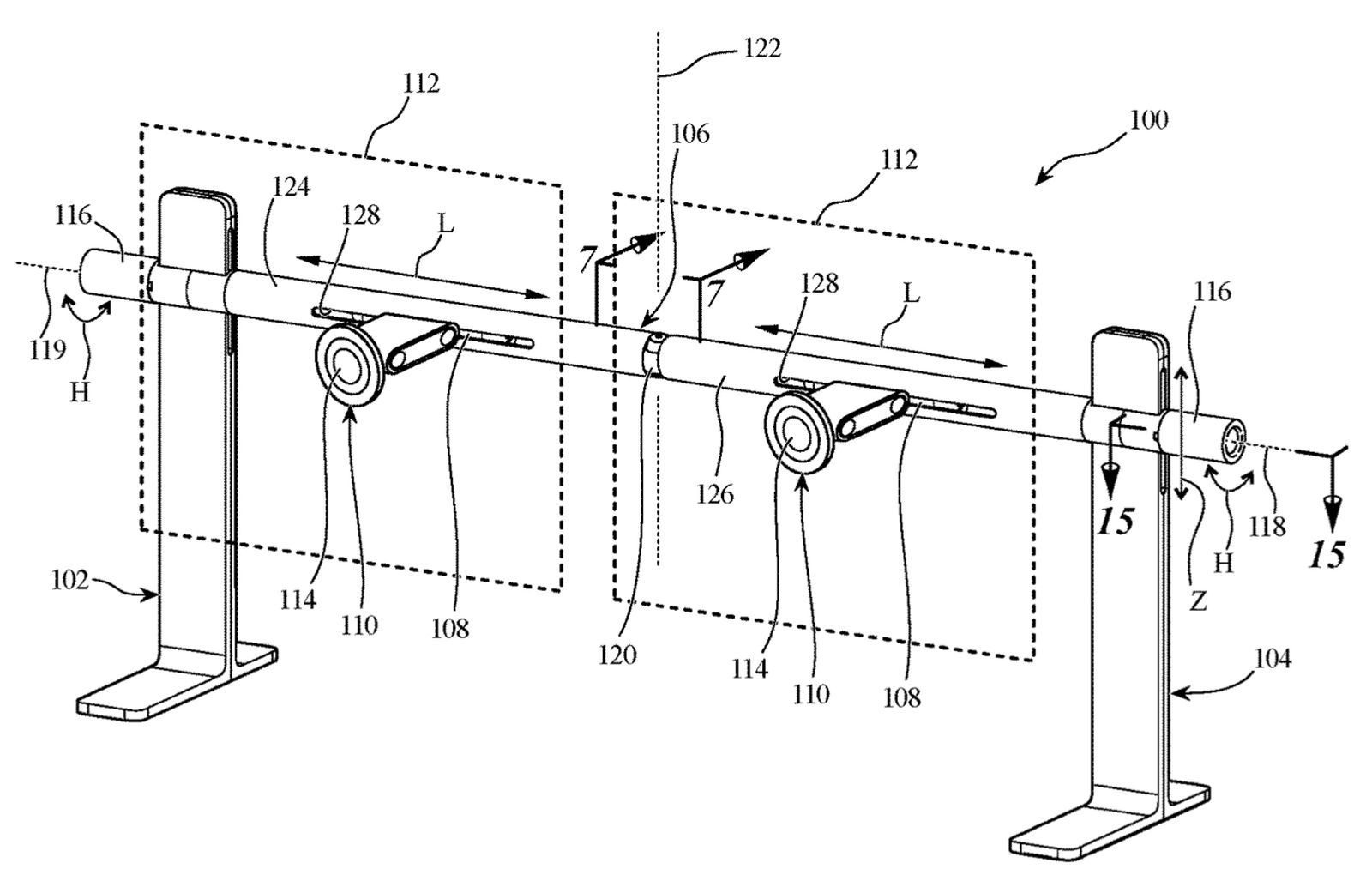
이 특허는 이미 2020년에 나왔지만, 미국 특허 및 상표국은 이제야 정식으로 이 특허를 통과했습니다. 특허명은 듀얼 디스플레이 스탠드(Dual Display Stand) 특허입니다.
특허문헌에 소개된 일부 설루션에 의하면 2개의 간격을 둔 지지대가 있고, 1개의 수평 지지봉으로 연결되어 2개의 모니터를 설치할 수 있는 대형 지지대가 기재되어 있습니다. 이 스탠드는 높은 수준의 정확한 조정과 제어가 가능합니다. 수직, 수평, 중심 회전의 자유도를 가지고 있습니다.




반응형







